Regarding self-created technical terminology in patent claims, patent practitioners should provide corresponding accurate meanings based on industry standards or norms. If the industry standards or norms have not yet addressed the technical term due to the patent's innovativeness, the patent practitioner should provide a definition in the description or claims according to its function, technical solution, and effect. If insufficient definition or explanation is given for a self-created technical term in the application documents, it may also lead to problems of insufficient disclosure under Article 26, Paragraph 3 of the Chinese Patent Law. Such issues cannot be overcome through amendments during the patent application stage, leading to adverse consequences.
In patent application documents, self-created technical terminology may appear in the claims to meet the objective need of describing the technical solution of the invention. During the patent application, invalidation, and litigation stages, how to determine the meaning of such self-created technical terminology? Patent practitioners can gain insights from the typical Supreme People's Court case described below.
Case Summary
In the retrial case between the applicant Shanghai Modi Luko Lock Manufacturing Factory ("Luko Factory") and the respondent Shanghai Gujian Lock Industry Co., Ltd. ("Gujian Company") regarding a dispute over infringement of a utility model patent (see reference: *Guiding Cases on Intellectual Property Trial by the Supreme People's Court (Seventh Series)*), Gujian Company was the exclusive licensee of the utility model patent titled "A Device for a Free-Turning Lock" (Application No. 200820155495.5) ("the patent in suit"). Gujian Company sued Luko Factory, alleging infringement of the patent in suit.
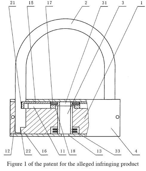
The patent in suit includes 7 claims. Independent claim 1 states: "A device for a free-turning lock: comprising a key (1), a lock core (4), and a lock body (8), characterized in that one end of said lock core (4) is for the key (1) to insert, the other end is provided with a rotation pusher (5); one end of a telescopic linkage (6) is adjacent to the rotation pusher (5), the other end is provided with a telescopic rod; one end of the lock body (8) or the outer circle of the lock body (8) is provided with a passage (11) for the telescopic linkage (6) to extend outward; a damping spring (9) and a positioning steel ball (10) or a damping spring plate (12) and a positioning protrusion (13) are installed between the outer circle of the lock body (8) and the inner circle of the housing (2)." Dependent claim 6 states: "The device for a free-turning lock according to claim 1, characterized in that said rotation pusher (5) is provided with a camshaft, and the telescopic linkage (6) is cylindrical or polygonal prismatic."
The Shanghai No.1 Intermediate People's Court in its first instance held that the accused infringing product was a free-turning lock. This lock indeed contained a component cooperating with the "rotation pusher," and this component also had its own telescopic operating space. Therefore, the accused infringing product contained the "telescopic rod" and the "passage for the telescopic linkage to extend outward." Thus, the technical features of the accused infringing product were identical to the essential technical features of the patent in suit. However, since before the filing date of the patent in suit, Luko Factory had actually manufactured and sold identical bicycle locks, it had the right to continue manufacturing the lock within the original scope. Accordingly, the Shanghai No.1 Intermediate People's Court ruled: 1. All claims of Gujian Company were dismissed; 2. The case acceptance fee of RMB 2,377 was borne by Gujian Company.
Gujian Company disagreed with the judgment and appealed to the Shanghai High People's Court. The Shanghai High People's Court in its second instance held that the technical features of the accused infringing product fell within the scope of protection of the patent in suit, and Luko Factory could not provide sufficient evidence to prove its prior user right. The Shanghai High People's Court ruled: 1. The civil judgment of the Shanghai No.1 Intermediate People's Court was revoked; 2. Luko Factory was to immediately cease infringing Gujian Company's patent in suit; 3. Luko Factory was to compensate Gujian Company for economic losses and reasonable expenses totaling RMB 35,000; 4. The remaining claims of Gujian Company were not supported.
Luko Factory disagreed with the judgment and appealed to the Supreme People's Court. The Supreme People's Court held that the accused infringing product did not possess the "telescopic linkage," the "telescopic rod provided at one end of the telescopic linkage," and the "passage for the telescopic linkage to extend outward" as specified in claims 1 and 6 of the patent in suit, and therefore did not fall within the scope of protection of the patent in suit. The first-instance judgment, based on the reasoning that "the bicycle lock indeed contains a component cooperating with the rotation pusher, and this component has its own telescopic operating space," failed to understand the meaning of the telescopic linkage in the technical solution of the patent in suit as a whole, leading to an erroneous determination that the accused infringing product fell within the scope of protection of the patent in suit. The second-instance judgment failed to correct the first-instance judgment, and its findings of fact and application of law were also erroneous, which the Supreme People's Court corrected. Furthermore, since the accused infringing product did not fall within the scope of protection of the patent in suit, the Supreme People's Court did not comment on Luko Factory's claim of prior user right. Accordingly, the Supreme People's Court ruled: 1. The second-instance judgment of the Shanghai High People's Court and the first-instance judgment of the Shanghai No.1 Intermediate People's Court were revoked; 2. Gujian Company's claims were dismissed. This judgment was final.
Case Commentary
The focus of dispute in this case was determining whether the accused infringing product fell within the scope of protection of the patent in suit. According to Article 59 of the Chinese Patent Law: "The scope of protection of the patent right for an invention or utility model shall be determined by the terms of the claims. The description and the appended drawings may be used to interpret the claims." However, since the term "telescopic linkage" in claim 1 of this case was not a publicly known technical term in the field before the filing date but was self-created by the applicant, how to determine the meaning of this self-created term became key.
According to Article 3 of the "Interpretation of the Supreme People's Court on Several Issues Concerning the Application of Law in the Trial of Patent Infringement Dispute Cases" (hereinafter referred to as the "Judicial Interpretation"): "When interpreting claims, the people's court may use the description and appended drawings, related claims in the claims, and the patent prosecution history. Where the description provides a specific definition for a term used in the claims, that specific definition shall be followed. If the meaning of the claims cannot be clarified by the above methods, it may be interpreted by reference to publicly known documents such as dictionaries and textbooks, as well as the ordinary understanding of a person skilled in the art." In other words, since the meaning of such self-created technical terms is not familiar to a person skilled in the art, when determining their meaning, if the claims and description have provided accurate and clear limitations, their meaning can generally be determined based on those limitations. If the claims and description do not provide limitations, their meaning in the patent in suit should be determined by considering relevant background technology, the technical problem to be solved, specific embodiments, and unexpected technical effects recorded in the description and appended drawings.
Specifically, in the patent in suit, the patent applicant did not define or explain the "telescopic linkage" in either the claims or the description. Therefore, it was necessary to comprehensively consider the technical content related to this term recorded in the description and drawings to determine its meaning.
1. The patent in suit neither involves improvements to the lock tongue or bolt itself in an ordinary lock, nor involves modifying an ordinary lock by directly replacing the lock tongue or bolt with a telescopic linkage. Secondly, the telescopic linkage is an intermediate component set between the rotation pusher and the lock tongue or bolt, used to push the movement of the lock tongue or bolt. The telescopic linkage and the lock tongue or bolt are independent from each other and are not the same component. Furthermore, the patent in suit does not contain technical content where the telescopic linkage directly replaces the lock tongue or bolt, with the telescopic linkage itself directly performing the locking function. Thirdly, according to the relevant records in the QB/T3835-1999 standard provided by Luko Factory: "Lock tongue (bolt) is the component in a lock that directly performs the locking function" and "Lock tongue driver (follower) is the part that directly drives the lock tongue." Since the telescopic linkage is a component used to push the movement of the lock tongue or bolt, the telescopic linkage itself cannot directly perform the locking function. Therefore, the telescopic linkage does not meet the definition of "lock tongue" in the above standard; it essentially belongs to the "lock tongue driver" in the standard.


2. Based on clarifying the meaning of the self-created term above, it was necessary to determine whether the accused infringing product fell within the scope of protection of the patent in suit. Firstly, the lock tongue in the accused infringing product directly performs the locking function, while the telescopic linkage is used to push the movement of the lock tongue or bolt and cannot itself perform the locking function. Secondly, the lock tongue in the accused infringing product is directly pushed by the rotation pusher, whereas in the patent in suit, a telescopic linkage is set between the rotation pusher and the lock tongue or bolt, pushing the lock tongue or bolt through the telescopic linkage. Thirdly, during free-turning anti-theft operation, the accused infringing product achieves the free-turning anti-theft function because the lock tongue passage rotates with the lock body, while in the patent in suit, the free-turning anti-theft function is achieved because the rotation pusher cannot push the telescopic linkage. Therefore, the working principle, function, and effect of the lock tongue in the accused infringing product differ from those of the telescopic linkage. The accused infringing product neither possesses the telescopic linkage as specified in claims 1 and 6 of the patent in suit, nor possesses the telescopic rod provided at one end of the telescopic linkage. In summary, the accused infringing product did not fall within the scope of protection of the patent in suit.
Insights from the Case
In the analyzed case above, since the self-created technical term was not defined or explained in either the claims or the description, its meaning had to be determined within the specific embodiments. Consequently, the meaning of the self-created term was necessarily relatively specific and narrower, and could not be interpreted with the relatively broader meaning intended in the claims. Sometimes, this may even fail to cover or deviate from the technical solution envisioned by the inventor, thus being unfavorable for protecting the inventor's patent.
When drafting patent documents based on invention disclosures or translating/proofreading foreign-related patent applications, patent agents should pay attention to relatively unfamiliar terms that may involve self-created terminology and provide corresponding accurate meanings based on industry standards or norms. If industry standards or norms have not yet addressed the term due to the innovativeness of the invention disclosure, the patent agent should provide a definition in the description or claims according to its function, technical solution, and effect. This definition should cover all embodiments and be appropriately and reasonably generalized to better protect the interests of the inventor.
Furthermore, if a self-created technical term is not sufficiently defined or explained in the application documents, it may lead to issues of insufficient disclosure. According to Article 26, Paragraph 3 of the Chinese Patent Law, the description shall clearly and completely describe the invention or utility model so that a person skilled in the relevant field of technology can carry it out. If insufficient explanation of a self-created term leads to insufficient disclosure of the patent's technical solution, it cannot be overcome through amendments during the patent application stage, resulting in adverse consequences. Therefore, it is necessary to fully communicate with the inventor before submitting the application documents to improve the application by adding explanatory notes, additional embodiments, or intermediate generalizations. Additionally, during invalidation and litigation stages, an authorized patent may face the risk of being declared invalid due to insufficient disclosure, leading to instability of the patent right.
In light of this, patent agents should treat potential self-created terms in application documents with greater caution when handling patent applications. Based on good communication with the inventor, they should more professionally perfect the patent application documents to better protect the interests of the inventor.